建筑防水工程设计与施工——地下室底板


2025新澳门免费原料宝典    建筑防水工程一般包括屋面防水、地下工程防水、外墙防水及室内防水。其中,地下工程防水设防环境复杂,对防水材料性能要求相对较高,特别对于地下室底板而言,其薄弱环节众多、交叉作业、基面处理难度大等因素交织,往往是地下工程防水的重点和难点。

1.底板防水设计及相关要求

   地下室底板防水由结构自防水与附属防水层两道屏障组成。其中结构自防水一般为具有一定抗渗性能的防水混凝土;而附属防水层则是由防水卷材、防水涂料中的一种或多种组合而成。底板基本构造层次(预铺反粘)如图1

2025新澳门免费原料宝典

 

1.1 地下室底板基本构造层次.1。

对于地下室底板而言,结构自防水抗渗等级应根据结构埋置深度确定,具体对应关系如表1.1。另外,结构防水混凝土的厚度、抗压强度、基本配合比设计,外加剂、工作性、水化热及施工工艺控制等均应符合GB50108《地下工程防水技术规范》及相关规范要求。

1.1 防水混凝土抗渗等级设计2025新澳门免费原料宝典

 注:考虑到南方地区地下水丰富,地下水位高,故参照SJG19-2019《深圳市建筑工程防水技术标准》进行设计,抗渗等级在GB50108的相应设计要求上有所提升。

对于底板附属防水层则应优先选用具有一定耐久性的防水卷材,一般应为II型产品,具体材料性能要求请参照GB50108《地下工程防水技术规范》中第4.2~4.7节的相关要求。

根据2025新澳门免费原料宝典以往地下工程施工经验及现行地下工程防水相关技术规范,地下室底板防水推荐设计方案如表1.2。

1.2  底板推荐设防方案2025新澳门免费原料宝典

注:蓝天100环保型防水系统是由2025新澳门免费原料宝典结合多年的生产与施工经验开发的一套集环保、耐久、配套完善实用等特点于一体的地下工程防水系统解决方案。

2.底板预铺反粘法施工及重难点处理

 2.1 预铺反粘法及其设防优势

预铺反粘法是近年来研发的一项新技术,施工时将覆有高分子自粘胶膜的防水卷材反向空铺(自粘面朝上)在垫层混凝土上,使底板结构混凝土与自粘胶层形成紧密满粘接的一种施工方法。

本设防方案结合预铺反粘法,其优势主要表现在以下几个方面:

1)预铺反粘法使得预铺防水卷材自粘胶层与结构混凝土之间实现满粘,若防水层局部受到破坏,渗水也不会在卷材防水层与结构之间到处窜流,从而实现对破损点渗水的锁固,降低渗漏风险。具体示意如图2.1。2025新澳门免费原料宝典

2.1 预铺反粘法与普通工法抗破损窜水性对比

2)空铺在垫层上而反向与底板混凝土粘接,在垫层沉降时不会被拉裂,从而保护了防水层,延长了服役寿命;

3)1.2mm及以上厚度的预铺自粘防水卷材一道即可达到I级设防,大幅降低了设防成本,据我司相关经验,相比于传统的SBS改性沥青防水卷材成本约下降40%,相比于普通自粘防水卷材成本约下降25%;

4)蓝天100环保型防水系统中,以TPO为片材的高分子自粘胶膜预铺防水卷材及其辅材能表现出更好的物理性能、耐水性、基层适应性和工艺便捷性。

2.2 底板预铺反粘施工及关键要求

基本施工流程:(垫层混凝土)基层处理→弹线与试铺→节点处理→大面施工→局部密封与检查→隐蔽验收→(底板钢筋绑扎、模板支设及混凝土浇筑)

基层处理:预铺反粘施工时将防水卷材空铺于基层上,对基面含水率要求较低,保证基面平整、干净、无尖锐物、无明水即可施工;

搭接处理:高分子自粘胶膜预铺防水卷材采用自粘胶搭接时搭接宽度d1≥70mm,而采用胶粘带搭接时搭接宽度d280mm;长边搭接时撕掉隔离膜按预留自粘胶层宽度(一般不少于70mm)搭接即可,短边搭接时可采取对接和胶粘带搭接两种形式,具体示意如图2.2-1.2025新澳门免费原料宝典

图2.2-1  两种不同的短边搭接方法

承台处理:基面清理后,承台施工按①②③④⑤的顺序进行。即:① 阴阳角节点处理(优先选用预制件,以利提高施工效率及节点密封效果;② 承台立面卷材预铺并注意尽量错缝搭接;③ 卷材上翻至承台顶部并临时固定;④ 承台底面卷材预铺施工;⑤ 桩头部位的密封。具体如图2.2-22025新澳门免费原料宝典

图2.2-2  承台施工工艺示意图

保护层与加强层:预铺法施工为实现预铺防水卷材自粘层与底板混凝土的可靠粘结,可不施工保护层;另外,考虑到预铺反粘工艺的特殊性,并根据GB50108《地下工程防水技术规范》主编单位的补充说明,对于承台等部位阴阳角的防水加强层,预铺反粘施工时也可以省去。

2.3 关键节点处理

1)底板甩槎与接槎2025新澳门免费原料宝典

图2.3-1   底板卷材防水层甩槎与接茬构造

1.临时保护强;2.永久保护墙;3.细石混凝土保护层;4.卷材防水层;5.水泥砂浆找平层;6.混凝土垫层;7.卷材加强层;8,结构墙体;9.卷材加强层;10.卷材防水层;11.卷材保护层

 

底板采用预铺自粘防水卷材时,甩槎部分应在临时性保护墙立面作临时固定,而不应压砌在临时性保护墙下,以免在侧墙混凝土施工过程中对甩槎部分造成损伤甚至完全破坏,最终导致无法接槎。具体如图2.3-1中红圈部分所示。

接槎时,侧墙防水层应盖压底板甩槎卷材,并做好搭接密封处理。搭接宽度不宜小于150mm,搭接前应将卷材搭接区域表面清洁干净,如果出现局部损伤应及时修补。

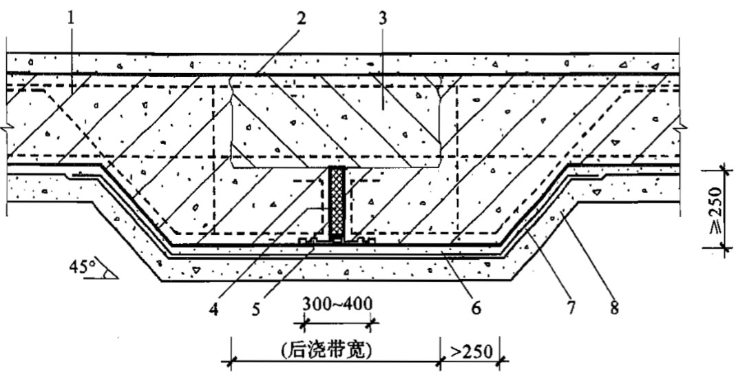
2)超前止水后浇带2025新澳门免费原料宝典

2.3-2  超前止水后浇带止水构造

1.混凝土结构;2.钢丝网片;3.后浇带;4.填缝材料;5.外贴式止水带;6.细石混凝土保护层;7.卷材防水层;8,垫层混凝土
超前止水后浇带是后浇带设计应该优先选用的一种构造形式,其具有提前止水,加快施工进度等特点。
预铺反粘施工时,超前止水后浇带除应设置外贴式止水带外,还宜骑缝对称设置一道同材质、同厚度、不覆砂的高分子自粘胶膜防水卷材加强层,宽度应每边超出后浇带300mm。具体如图2.3-2

 

3)桩头处理

2025新澳门免费原料宝典

图2.3-3 桩头防水处理
1.遇水膨胀止水条或胶;2.耐水型密封材料;3.水泥基渗透结晶型防水涂料;

桩头处理时,高分子自粘胶膜预铺防水卷材应于桩头处断开,卷材沿桩头周边应切割齐整,弧线均匀,切口与桩头的结合处应用耐水型柔性密封材料密封严实;

对于桩顶及桩身侧壁可采用水泥基渗透结晶型防水涂料进行涂刷,用量不得少于1.5kg/m2;桩顶应满刷,侧壁下翻高度不得低于150mm;

桩头钢筋可采用遇水膨胀止水条或胶进行密封,具体如图2.3-3

 

对于地下室底板的其他节点防水处理可参见国标图集16CJ23-3GB50108《地下工程防水技术规范》。

 

联系我们

2025新澳门免费原料宝典

生产基地:广州市从化鳌头镇龙潭大道6号1幢

办公地址: 广州市白云区鹤龙一路983号广东通信科技大厦南塔13楼
电话:400-880-2082

传真:020-8764 7730

邮箱:[email protected]

留言


版权©2024 2025新澳门免费原料宝典  网站建设:中企动力 广州  SEO  云资讯  城市分站

营业执照